Risorse multimediali
Immagini
Comunicazione della Carnevalesca al Sindaco relativa al costo del concerto
A.S.C., 1884, titolo XVIII, rubrica 3, articolo 3
(fascicolo contenente anche la corrispondenza del 1883)
Autorizzazione Archivio di Stato di Pesaro n. 154 del 23/2/2006
Concessione del Teatro della Fortuna
S.A.S.Fa., A.S.C., 1899, Ctg. XV, classe 3, fascicolo 3
Autorizzazione Archivio di Stato di Pesaro n. 154 del 23/2/2006
Concessione di contributi alla Carnevalesca da parte del Comune
A.S.C., 1884, titolo XVIII, rubrica 3, articolo 3
(fascicolo contenente anche la corrispondenza del 1883)
Autorizzazione Archivio di Stato di Pesaro n. 154 del 23/2/2006
Concessione di contributi del Comune alla Carnevalesca
A.S.C., 1884, titolo XVIII, rubrica 3, articolo 3
Autorizzazione Archivio di Stato di Pesaro n. 154 del 23/2/2006
Concessione di un locale e del Teatro Cesare Rossi
A.S.C., 1884, titolo XVIII, rubrica 3, articolo 3
Autorizzazione Archivio di Stato di Pesaro n. 154 del 23/2/2006
Conchiglia di Bivalve, vista dorsale. ba = bordo o margine anteriore; bp = bordo o margine posteriore; 1 = valva sinistra; 2 = valva destra; 3 = scutello; 4 = legamento esterno; 5 = umbone; 6 = lunula
Conchiglia di Gasteropode con apertura olostoma (Epitonium commune) a = apice; b = base; 1 = sutura; 2 = ultimo giro; 3 = coste assiali; 6 = apertura
Conchiglia di Gasteropode con apertura sifonostoma (Rapana venosa) a = apice; b = base; 4 = cingoli radiali; 5 = tubercoli; 7 = peristoma (o labbro) con denti labiali; 8 = canale sifonale; 9 = ombelico
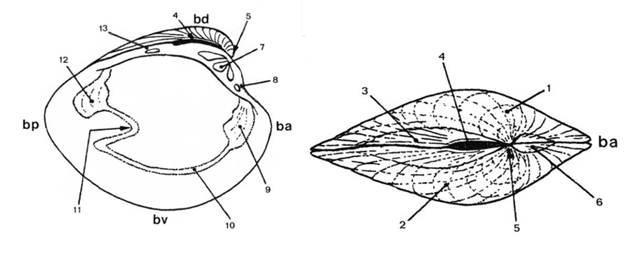
Conchiglia di Bivalve, vista interna della valva sinistra. bd = bordo o margine dorsale; bv = bordo o margine ventrale; ba = bordo o margine anteriore; bp = bordo o margine posteriore; 4 = legamento esterno; 5 = umbone; 7 = denti cardinali; 8 = dente laterale anteriore; 9 = impronta del muscolo adduttore anteriore; 10 = linea palleale; 11 = seno palleale; 12 = impronta del muscolo adduttore posteriore; 13 = dente laterale posteriore
Conchiglia di Bivalve (Chamelea gallina). A sinistra: vista interna della valva sinistra. bd = bordo o margine dorsale; bv = bordo o margine ventrale; ba = bordo o margine anteriore; bp = bordo o margine posteriore; 4 = legamento esterno; 5 = umbone; 7 = denti cardinali; 8 = dente laterale anteriore; 9 = impronta del muscolo adduttore anteriore; 10 = linea palleale; 11 = seno palleale; 12 = impronta del muscolo adduttore posteriore; 13 = dente laterale posteriore. A destra: vista dorsale. ba = bordo o margine anteriore; 1 = valva sinistra; 2 = valva destra; 3 = scutello; 4 = legamento esterno; 5 = umbone; 6 = lunula
Conchiglia di Gasteropode con apertura olostoma (Epitonium clathrus). a = apice; b = base; 1 = sutura; 2 = ultimo giro; 3 = coste assiali; 6 = apertura. A destra: conchiglia di Gasteropode con apertura sifonostoma (Rapana venosa). a = apice; b = base; 4 = cingoli spirali; 5 = tubercoli; 7 = labbro (o peristoma) con denti labiali; 8 = canale sifonale; 9 = ombelico
Conchiglie nel detrito prelevato 16 miglia al largo di Fano, a 54 m di profondità , marzo 2004
Foto di:
Poggiani Luciano
Conchiglie nel detrito prelevato 16 miglia al largo di Fano, a 54 m di profondità , marzo 2004
Foto di:
Poggiani Luciano
Conchiglie nel detrito prelevato 16 miglia al largo di Fano, a 54 m di profondità , marzo 2004
Foto di:
Poggiani Luciano
Conchiglie nel detrito prelevato 16 miglia al largo di Fano, a 54 m di profondità , marzo 2004
Foto di:
Poggiani Luciano
Conchiglie spiaggiate alla foce di Fosso Sejore (Pesaro), novembre 2011. E' prevalente Lentidium mediterraneum
Foto di:
Poggiani Luciano
Conchiglie spiaggiate alla foce di Fosso Sejore (Pesaro), novembre 2011. E' prevalente Lentidium mediterraneum
Foto di:
Poggiani Luciano
Conchiglie spiaggiate con prevalenza di Chamelea gallina, foce del T. Arzilla a Fano, dicembre 2011
Foto di:
Poggiani Luciano
Concio di S. Salvatore della Foce, agosto 2017. E' lo stesso fotografato da Michelini Tocci e che compare nel libro Erebi e cenobi del Catria pubblicato nel 1972
Foto di:
Dionisi Virgilio
Concrezione coralligena con foro doppio per i sifoni di Gastrochaena dubia (visibile in alto)
Foto di:
Poggiani Luciano
Confessionale nella Chiesa di S. Lucia a Figgiano (Borgo Pace), agosto 2011
Foto di:
Dionisi Virgilio
Confluenza del Candigliano (proveniente da destra) nel Metauro, giugno 2007. Sullo sfondo i Monti della Cesana
Foto di:
Poggiani Luciano
Confluenza del Candigliano (proveniente da destra) nel Metauro, giugno 2007. Sullo sfondo i Monti della Cesana
Foto di:
Poggiani Luciano
Confluenza del Candigliano nel Metauro (proveniente da sinistra), febbraio 1976. Sullo sfondo i Monti della Cesana
Foto di:
Poggiani Luciano
Confluenza tra Fosso Lecce e Fosso Noceto, M. Paganuccio (Monti del Furlo), dicembre 2006
Foto di:
Rossetti Sara
Confluenza del Candigliano nel Metauro a Calmazzo, febbraio 2008. Il Candigliano scorre davanti a noi, mentre il Metauro proviene da sinistra e prosegue verso Fossombrone e il mare. A metà distanza un piazzale di cava e il bosco ripariale del Candigliano che ospita una garzaia di Airone cenerino; sullo sfondo a sinistra i Monti della Cesana, a destra bassi rilievi con terrazzamenti della zona di Carpineto, al centro nella valle l'abitato di S. Lazzaro
Foto di:
Poggiani Luciano